欢迎访问无锡特仁科环保科技有限公司!

无锡特仁科环保科技有限公司

我们的主营产品:污泥干化,污泥深度处理,漂浮式曝气机,浮筒式曝气机,氧化沟曝气机,复叶推流式曝气机等

全国咨询热线:

0510-86058118 /13395159838


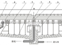
您的位置: 首页 > 产品中心 > 刮吸泥机类 > SSG型双周边传动刮吸泥机

产品中心

PRODUCT CENTER

联系方式

0510-86058118

Consultation hotline

电话:13395159838

传真:0510-86058116

邮件:trenco@126.com

地址:江阴市璜土镇姬山路5号

邮编:

在线咨询

订购热线:13395159838

在线客服